省级示范场!浠水2家企业上榜!

2023-08-23 09:24  

近日

省农业农村厅发布

2023年湖北省农业农村厅

推荐畜禽养殖标准化示范场名单

其中

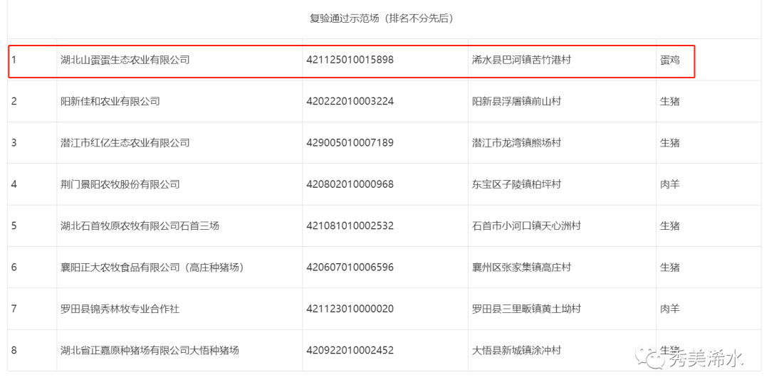
我县2家蛋鸡企业上榜

浠水县鑫垚生态农业有限公司拟推荐为新创建标准化示范场

湖北山蛋蛋生态农业有限公司复验通过为标准化示范场

相关阅读