关于注销吸毒人员机动车驾驶证的公告
根据《机动车驾驶证申领和使用规定》(公安部172号令)第七十九条之规定,机动车具有下列情形之一的,车辆管理所应当注销机动车驾驶证:“被查获时有吸食、注射毒品后驾驶机动车行为,被依法责令社区戒毒、社区康复或者决定强制隔离戒毒,或者长期服用依赖性精神药品成瘾尚未解除的”。
请以下人员在本公告发布之日起三十日内携带本人身份证和驾驶证到浠水县公安局交通管理大队车辆管理所办理机动车驾驶证注销业务。逾期未办理的,机动车驾驶证将依法注销并公告作废。
特此公告!

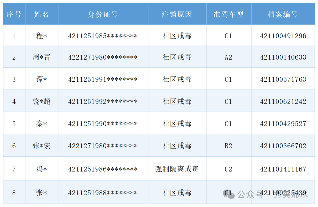
注销驾驶证人员名单


《机动车驾驶证申领和使用规定》第172号令

